各学院、实验中心:
为了保证2020-2021学年第一学期实验教学的顺利开展,并进一步加强实验教学管理,掌握实验教学进度安排,保证实验教学质量,规范实验教学秩序,学校现开展2020-2021学年第一学期实验教学进程计划的申报工作。请2020-2021学年第一学期有实验课的老师根据培养方案和教学计划做好实验教学进程计划提交工作,相关事宜通知如下:
1、实验教学进程计划通过登录实验室综合信息管理系统http://labmis.lzjtu.edu.cn进行申报(浏览器必须用:谷歌浏览器、IE11浏览器或者是360浏览器的极速模式),教师登录号为教务系统登录号,初始密码为123456。申报流程如下:
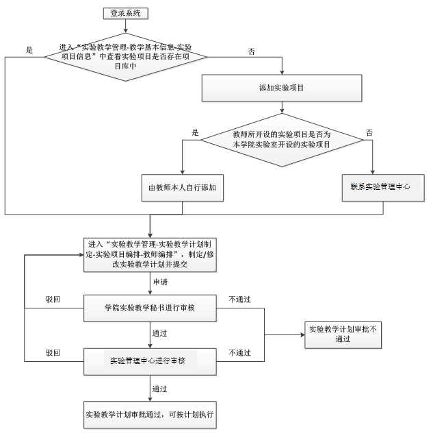
实验教学进程计划申报流程图

具体操作流程请参考《实验教学进程计划申报流程》(见附件1)。
2、教师网上申报截止日期为2020年9月12日, 学院审核截止日期为2020年9月19日。请各学院严格按照学校要求督促教师填写实验教学进程,如果学校发现有教师没有填写实验教学教学进程,没按照本科教学执行进程及实验教学相关要求开展实验,将按照学校教学相关管理文件进行严肃处理。
3、学校将组织教学督导团专家根据实验教学进程计划对实验教学情况进行随机调研。请各教学单位严格按照实验授课计划开展实验教学工作,原则上不容许变动,如有变动,教师需及时填写《兰州交通大学实验教学调(停)课申请表》(附件2),报实验管理中心审批通过后才能执行。学校如果发现教师存在随意调换实验教学时间、地点和实验内容的情况,将按照《兰州交通大学教学事故认定及处理规定》、《兰州交通大学教师教学工作各环节的基本要求》等文件进行严肃处理。
联系电话:495621913993119646
附件1实验教学进程计划申报流程
附件2兰州交通大学实验教学调(停)课申请表
实验管理中心
二〇二〇年八月二十七日